Reemplazo de un 0614 desviador en una válvula de presión balanceada
|
Este artículo explicará en detalle cómo reemplazar un 0614 desviador en una válvula de presión balanceada |
![]() |
Preparación: |
Importante: cierre el suministro de agua del grifo antes de comenzar. Puede desconectar el suministro principal de la casa o cerrar las válvulas de paso, si el grifo cuenta con ellas. Luego vuelva a abrir el grifo para vaciarlo del agua que pueda haber quedado allí. Si esto no se hace, pueden producirse inundaciones o lesiones.
- Herramientas recomendadas: Para la llave del grifo, se requiere una llave Allen de 2.5 mm o un destornillador Phillips, y una llave ajustable
Instrucciones: |
|
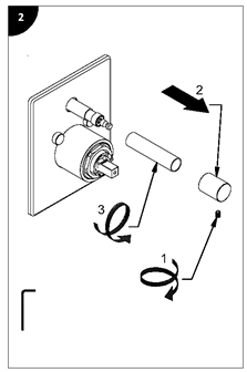
Desemble la pieza en el orden indicado |
Desemble la pieza en el orden indicado |
Desemble la pieza en el orden indicado |
|
Retire el desviador |
No ajuste en exceso la pieza |
Repita los pasos en orden inverso para instalar la pieza acabada. |
Contáctenos:Consumidores canadienses: Envíe un email o llame al 1-866-473-8442 Consumidores de EE. UU.: Envíe un email o llame al 1-800-777-9762 |
|






